




| ● | Material: UL approved ABS, 94HB | |
| ● | Color: Grey. | |
| ● | Application: | |
| 1. | DCP-100, DCP-60A, DCP-100A: apply 1 coupler on each side and fix with 6 screw and nuts. DCP-100 also functions as divider plate. | |
| 2. | DCI-60, DCI-100: 1set includes 2 couplers and screws. Apply 2 couplers each side and fix with 6 screws and nuts to adjust angle. | |
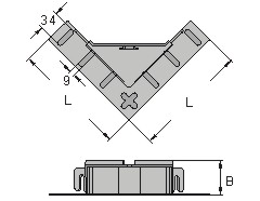
| 3. | DCPT-1: 1 set includes cover and base. To connect wiring duct at 90 degree needs to apply 1 set each side. | |
| ▲ | DCP-100 UL recognized PVC material with flammability rating of M1 and 94V-0 for vicat softening temperature of 86℃. | |
| ※ | Applied with screw PF-823HNGYJ and nut PN-8HNGYJ | |
 
 
|  DCP-100 |  DCP-60A |  DCP-100A | 
|  DCI-100 |  DCPT-1 |  DCI-60 | 
| 
 | |||||||
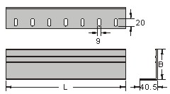
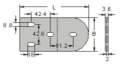
| Item No. | A | B | L | Used With SDH duct Height | |||
| DCP-100 | 40.5 | 75.5 | 350.0 | 100 | |||
| DCP-60A | 43.0 | 170.0 | 60 | ||||
| DCP-100A | 75.0 | 184.6 | 100 | ||||
| DCI-60 | 43.0 | 130.0 | 60 | ||||
| DCI-100 | 75.0 | 160.0 | 100 | ||||
| DCPT-1 | 58.5 | 190.0 | 100 | ||||