





| ● | Material: UL approved PC/ABS, 94V-0 flammability, Halogen FREE. | 
| ● | Color: Grey | 
| ● | Vicat softening point: 103℃ | 
| ● | Features parallel holes on both sidewalls to facilitate cutting in wire application. | 
 
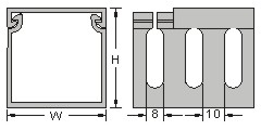
|  MHF SLOT:8mm | 
| 
 | |||||
| Item No. | WxH | Length | |||
| mm | |||||
| MHF-4040 | 40x40 | 2M | |||